【产品用途】
BSNJ美标保温夹套安全阀按照美标ANSI及API规范设计制造,阀体外壳采用保温结构设计,可保证介质的温度损失,全启式设计,排量大。
【产品特点】
- 用作聚酯,乙烯及尿素化肥等装置中介质需要保温的压力安全附件
- 对进出口法兰在内的阀体均进行保温,因而保温效果好,特殊需要时可增加蒸汽冲洗功能
- 波纹管式结构,变动背压不影响安全阀的整定压力,且波纹管对弹簧等阀盖内的零件起到防护介质侵蚀作用
- 内件(阀瓣,阀座)标准材料均为奥氏体不锈钢且堆焊硬质合金
- 特殊需要时内件可以提供尿素级316L,双相不锈钢0Cr25Ni6Mo3CuN(255合金),00Cr25Ni6Mo2N(SUS329J1)等材料,波纹管可以提供Ti材料
【执行标准】
设计规范:API RP 520结构长度:API RP 520
法兰连接:ANSI B16.34
试验与检验:API 527
【产品型号】

【整定压力等级】
| 公称压力(Lbs) | 进口温度(°C)/整定压力等级 | ||
| -29~38 | 38~232 | 232~427 | |
| 150# | ≤1.96MPa | ≤1.27MPa | ≤0.55MPa |
| 300# | ≤5.10MPa | ≤4.24MPa | ≤2.82MPa |
| 600# | ≤10.20MPa | ≤8.51MPa | ≤5.68MPa |
| 900# | ≤15.30MPa | ≤12.72MPa | ≤8.51MPa |
| 1500# | ≤25.54MPa | ≤21.23MPa | ≤14.20MPa |
| 2500# | ≤34.47MPa | ≤34.47MPa | ≤23.65MPa |
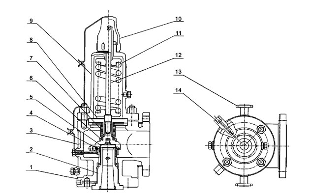
【性能参数】
| 型号 |
铸钢型 WCB |
304不锈钢型 | 316不锈钢型 | 316L不锈钢型 | |
| 口径范围 | 1/2"~8" | ||||
| 适用温度 | ≤427°C | ||||
| 适用介质 | 水、蒸汽、油品 | 腐蚀性介质 | 腐蚀性介质 | 腐蚀性介质 | |
| 材料 | 1、阀座 | 304SS | CF8 | CF8M | CF3M |
| 2、阀体 | WCB | CF8 | CF8M | CF3M | |
| 3、调节圈 | 304SS | 304SS | 316SS | 316L | |
| 4、反冲盘 | 304SS | 304SS | 316SS | 316L | |
| 5、阀瓣 | 304SS | 304SS | 316SS | 316L | |
| 6、导向套 | 304SS | 304SS | 316SS | 316L | |
| 7、阀盖 | WCB | CF8 | CF8M | CF3M | |
| 8、弹簧 | 50CrVa | 50CrVa包覆TEFLON | 50CrVa包覆TEFLON | 50CrVa包覆TEFLON | |
| 9、阀杆 | 304SS | 2Cr13 | 316SS | 316L | |
| 10、调整螺杆 | 2Cr13 | 2Cr13 | 2Cr13 | 2Cr13 | |
| 11、保护罩 | ZG200 | ZG200 | ZG200 | ZG200 | |
| 密封面材料 | 堆焊Co基硬质合金 | 堆焊Co基硬质合金 | 堆焊Co基硬质合金 | 堆焊Co基硬质合金 | |
【外形尺寸】
【结构图片】
声明:本文中所有文字、数据、图片均适用于参考,BSNJ美标保温夹套安全阀的具体性能参数、结构尺寸参数、价格等详情,请联系我们的销售、技术工程师,电话:021-5266 6877。

