【产品用途】
BA-22C300T冷水机组蒸发式冷凝器安全阀是一种结构小巧,重量轻,适用于中央空调冷水机组冷凝器或蒸发器作为超压保护的安全装置;全身采用黄铜棒材加工而成,密封采用聚四氟乙烯F4材料,密封性能高,泄露量符合ANSI标准。
【产品特点】
1、整定压力偏差小,可达±3%2、启闭压差≤15%
3、选用优质的弹簧钢,保证弹簧的寿命和稳定性
4、全身采用黄铜棒材加工而成
5、全启式结构,排量大
6、密封采用聚四氟乙烯F4材料,密封性能高
7、卤素检测试验≤0.1盎司/年
【执行标准】
设计规范:ANSI/ASHRAE15结构长度:ANSI
试验与检验:ANSI
产品标识:GB/T 12220
供货规范:JB/T 7928
【产品型号】
BA-22C300T
【整定压力等级】
≤4.0MPa
【额定排量】
| 口径 mm(in) |
do (mm) |
整定压力Psig(Mpa) | ||||
| 200(1.38) | 250(1.72) | 300(2.07) | 350(2.42) | 400(2.76) | ||
| DN8(1/4) | 6.3 | 9 | 11.5 | 13.5 | 15.5 | 18 |
| DN10(3/8) | 7.0 | 12 | 14.5 | 17 | 20 | 22.5 |
| DN15(1/2) | 7.8 | 14.5 | 18 | 21.5 | 25 | 28 |
| DN20(3/4) | 11 | 29 | 35.5 | 42.5 | 49.5 | 56 |
| DN25(1) | 18 | 77.5 | 95.5 | 114 | 132.5 | 150.5 |
| DN32(1'/4) | 26.5 | 168 | 207 | 247 | 287 | 319.5 |
【性能参数】
| 型号 Type | BA22C-300T |
| 公称压力 | 300Lbs |
| 公称通径 | DN8~32(1/4~1-1/4") |
| 强度试验压力 | 5.2MPa |
| 排放压力 | ≤1.1倍整定压力 |
| 密封压力 | 0.9倍整定压力 |
| 密封性 | 气压试验2分钟无泄漏、卤素检漏实验泄漏率≤0.1盎司/年 |
| 适用温度 | -40~105°C |
| 适用介质 | 制冷剂、油、水、气体等 |
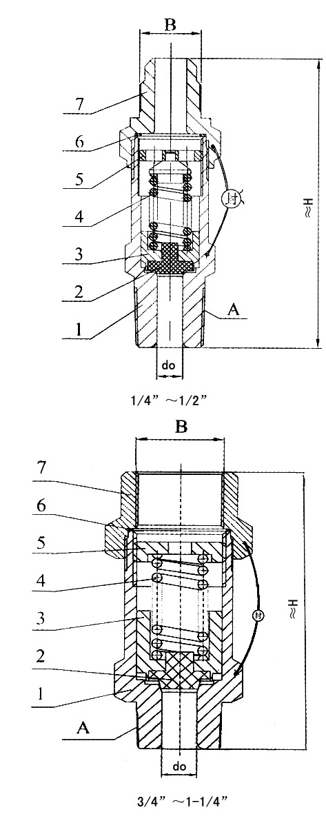
【主要零件材料】
| 序号 NO. | 零件名称 | 材料 |
| 1 | 阀体 | HPb59-1/H62 |
| 2 | 密封圈 | PTFE |
| 3 | 阀瓣 | HPb59-1/H62 |
| 4 | 弹簧 | 50CrVA |
| 5 | 调整螺母 | HPb59-1/H62 |
| 6 | 垫片 | T3 |
| 7 | 螺母 | HPb59-1/H62 |
【主要外形连接尺寸】
| 口径mm(in) | in | ≈H (mm) | |
| 进口A | 出口B | ||
| DN8(1/4) | 1/4-18MNPT | 5/8-18UNF | 80 |
| DN10(3/8) | 3/8-18MNPT | 5/8-18UNF | 90 |
| DN15(1/2) | 1/2-14MNPT | 7/8-14UNF | 95 |
| DN20(3/4) | 3/4-14MNPT | 3/4-14FNPT | 100 |
| DN25(1) | 1-11.5MNPT | 1-11.5FNPT | 120 |
| DN32(1'/4) | 1'/4-11.5MNPT | 1'/2-11.5FNPT | 175 |
【结构图片】
声明:本文中所有文字、数据、图片均适用于参考,冷水机组蒸发式冷凝器安全阀的具体性能参数、结构尺寸参数、价格等详情,请联系我们的销售、技术工程师,电话:021-5266 6877。

