【产品用途】
AQ-20型空压机安全阀是一种用于空压机等设备作为超压保护的最终安全保护装置,该类型安全阀采用弹簧直接载荷式,螺纹连接。
【产品特点】
1、整定压力偏差小,可达±3%3、启闭压差≤15%
4、选用优质的弹簧钢,保证弹簧的寿命和稳定性
5、平面结构的阀瓣和阀座易于维修和重新加工
【执行标准】
设计规范:GB/T 12243结构长度:GB/T 12221
试验与检验:GB/T 12242
产品标识:GB/T 12220
供货规范:JB/T 7928
【产品型号】
AQ-20
【整定压力等级】
| 公称压力(MPa) | 整定压力等级 | |||||||
| 1.6 | 0.06~0.1 | 0.1~0.16 | 0.16~0.25 | 0.4~0.6 | 0.6~0.8 | 0.8~1.0 | 1.0~1.3 | 1.3~1.6 |
| 2.5 | 1.3~1.6 | 1.6~2.0 | 2.0~2.5 | |||||
| 4.0 | 1.3~1.6 | 1.6~2.0 | 2.0~2.5 | 2.5~3.2 | 3.2~4.0 | |||
【性能参数】
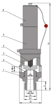
| NO. | 零件名称 | AQ-20材料 |
| 1 | 阀体 | 2Cr13 |
| 2 | 阀座 | 2Cr13 |
| 3 | 阀瓣 | 2Cr13 |
| 4 | 阀杆 | 2Cr13 |
| 5 | 阀盖 | ZG230-450 |
| 6 | 阀帽 | ZG230-450 |
| 密封面材料 | "堆焊Co基硬质合金 |
【主要外形连接尺寸】
| 公称 通径 | 尺寸 | ||||||
| DN (mm) | do | G | D | D1 | Z-?d | L | ≈H |
| 20 | 17 | G1" | 62 | 44 | 4-17 | 25 | 220 |
| 25 | 20 | M36×2 | 70 | 50 | 4-20 | 28 | 226 |
【结构图片】
声明:本文中所有文字、数据、图片均适用于参考,AQ-20型空压机安全阀的具体性能参数、结构尺寸参数、价格等详情,请联系我们的销售、技术工程师,电话:021-5266 6877。

