【产品用途】
A27H-16T带扳手弹簧全启式螺纹黄铜安全阀是一种用于无毒无害及非易燃易爆气体或液体介质的管道及容器等设备作为超压保护的最终安全保护装置,该类型安全阀采用弹簧直接载荷式,螺纹连接,阀盖封闭式结构,带提升扳手。
【产品特点】
- 阀瓣处设有反冲盘部件
- 平面结构的阀瓣和阀座易于维修和重新加工
- 整定压力偏差小,可达±3%
- 选用优质的弹簧钢,保证弹簧的寿命和稳定性
【执行标准】
设计规范:GB/T 12243结构长度:GB/T 12221
法兰连接:JB/T 79
试验与检验:GB/T 12242
产品标识:GB/T 12220
供货规范:JB/T 7928
【产品型号】
A28H-16T
【整定压力等级】
| 公称压力(MPa) | 整定压力等级 | |||||||
| 1.6 | 0.06~0.1 | 0.1~0.16 | 0.16~0.25 | 0.4~0.6 | 0.6~0.8 | 0.8~1.0 | 1.0~1.3 | 1.3~1.6 |
【性能参数】
| 型号 | A27H-16T | |
| 口径范围 | DN15~DN25 | |
| 适用温度 | ≤200°C | |
| 适用介质 | 水、蒸汽、油品 | |
| 材料 | 1、阀体 | 黄铜 |
| 2、阀座 | 黄铜 | |
| 3、调节圈 | 黄铜 | |
| 4、阀瓣 | 不锈钢 | |
| 5、弹簧 | 50CrVa | |
| 6、阀杆 | 黄铜 | |
| 7、调整螺杆 | 黄铜 | |
| 8、保护罩 | 黄铜 | |
| 密封面材料 | 堆焊D507合金 | |
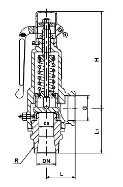
【主要外形连接尺寸】
| 公称通径 | 尺 寸 | |||||
| DN | do | R | L | L1 | G | H |
| 15 | 10 | 1/2" | 30 | 50 | 1/2" | 155 |
| 20 | 12 | 3/4” | 38 | 59 | 3/4" | 177 |
| 25 | 15 | 1“ | 42 | 67 | 1" | 202 |
【结构图片】
声明:本文中所有文字、数据、图片均适用于参考,A27H-16T黄铜安全阀的具体性能参数、结构尺寸参数、价格等详情,请联系我们的销售、技术工程师,电话:021-5266 6877。

