【产品介绍】
HH46X微阻缓闭蝶式止回阀采用双瓣蝶式结构设计,独有的双液压缓闭机构保证缓闭的可靠性,橡胶软密封阀座保证优良的密封性能,可防止介质逆流和消除破坏性水锤,并能有效地减少阀门关闭的水锤压力,可保障管网安全运行。
【产品特点】
1、双瓣蝶式结构设计2、独有的双液压缓闭机构
3、可防止介质逆流和消除破坏性水锤
【执行标准】
设计规范:GB/T 12233结构长度:GB/T 12221
连接法兰:JB/T 79,HG20592,GB9113,ANSI
试验与检验:JB/T 9092,GB/T13927
压力-温度:GB/T 9131
产品标识:GB/T 12220
【产品型号】
| 材质 | 型号 |
| HT200 | HH46X-10,HH46X-16 |
|---|---|
| WCB |
HH46X-16C,HH46X-25 |
【产品性能规范】
| 公称压力(MPa) | 1.0 | 1.6 | 2.5 | |
| 密封试验压力(MPa) | 1.1 | 1.76 | 2.75 | |
| 壳体试验压力(MPa) | 1.5 | 2.4 | 3.75 | |
| 适用温度(℃) | WCB≤350,HT200≤200 | |||
| 材料 | 阀体 | HT200,WCB | ||
| 阀瓣 | HT200,WCB | |||
| 阀杆、油缸、活塞 | 304 | |||
| 弹簧 | 不锈钢 | |||
| 阀座 | 丁腈橡胶 | |||
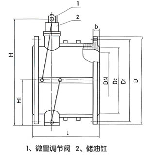
【主要外形连接尺寸】
| DN | 40 | 50 | 65 | 80 | 100 | 125 | 150 | 200 | 250 | 300 | 350 | 400 | 450 | 500 | 600 | 700 | 800 | 900 | 1000 |
|---|---|---|---|---|---|---|---|---|---|---|---|---|---|---|---|---|---|---|---|
| L | 140 | 150 | 170 | 180 | 190 | 200 | 210 | 230 | 250 | 270 | 290 | 310 | 330 | 350 | 390 | 430 | 470 | 510 | 550 |
| H | 200 | 215 | 225 | 235 | 280 | 290 | 310 | 350 | 415 | 450 | 480 | 550 | 585 | 640 | 720 | 780 | 840 | 990 | 1050 |
| H1 | 88 | 98 | 108 | 118 | 130 | 148 | 172 | 210 | 240 | 264 | 297 | 324 | 351 | 379 | 434 | 491 | 549 | 600 | 655 |
【结构图片】
声明:本文中所有文字、数据、图片均适用于参考,HH46X微阻缓闭蝶式止回阀的具体性能参数、结构尺寸参数、价格等详情,请联系我们的销售、技术工程师,电话:021-5266 6877。

