【产品用途】
三片式法兰球阀采用侧装铸钢三片分体式阀体结构设计,用来取代传统的固定式设计,以节省费用。根据特别需要,该系列阀门也可以根据客户要求设计以满不同工况的要求。
【产品特点】
1、全孔或缩孔设计2、防火、防静电
3、防低泄漏设计填料及填料函
4、防吹出阀杆
【执行标准】
设计规范:GB/T 12237结构长度:GB/T 12221
连接法兰:JB/T 79,HG20592,GB9113,ANSI
试验与检验:JB/T 9092,GB/T13927
压力-温度:GB/T 9131
产品标识:GB/T 12220
【产品型号】
| 材质 | 型号 |
| WCB |
Qs41F-1000C |
|---|---|
| CF8 | Qs41F-1000P |
| CF3 | Qs41F-1000R |
【产品性能规范】
| 公称压力(psi) | 1000 | |
| 密封试验压力(MPa) | 6.9 | |
| 壳体试验压力(MPa) | 9.6 | |
| 适用温度(℃) | ≤150℃ | |
| 材料 | 阀体、侧体 | WCB,CF8,CF3 |
| 球体 | 304SS,316SS | |
| 填料 | 聚四氟乙烯 | |
| 手柄 | QT450-10 | |
| 阀杆 | 304SS,316SS | |
| 密封 | 聚四氟乙烯 | |
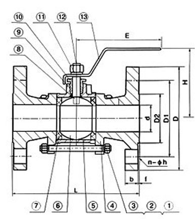
【主要外形连接尺寸】
| 3/4" | 1" | 11/4" | 11/2" | 2" | 21/2" | 3" | 4" | ||
| d | 15 | 20 | 25 | 32 | 38 | 50 | 65 | 76 | 100 |
| L | 130 | 150 | 160 | 180 | 200 | 230 | 290 | 310 | 350 |
| D | 95 | 105 | 115 | 135 | 145 | 160 | 180 | 195 | 230 |
| D1 | 65 | 75 | 85 | 100 | 110 | 125 | 145 | 160 | 190 |
| D2 | 45 | 55 | 65 | 78 | 85 | 100 | 120 | 135 | 160 |
| b | 14 | 16 | 16 | 18 | 18 | 20 | 22 | 24 | 24 |
| f | 2 | 2 | 2 | 3 | 3 | 3 | 3 | 3 | 3 |
| H | 75 | 95 | 90 | 110 | 130 | 140 | 170 | 180 | 250 |
| W | 130 | 140 | 140 | 170 | 200 | 220 | 350 | 350 | 550 |
| n-do | 4-14 | 4-14 | 4-14 | 4-18 | 4-18 | 8-18 | 8-18 | 8-18 | 8-22 |
【结构图片】

声明:本文中所有文字、数据、图片均适用于参考,三片式法兰球阀的具体性能参数、结构尺寸参数、价格等详情,请联系我们的销售、技术工程师,电话:021-5266 6877。

