【产品用途】
DKYP电控式减压阀采用控制柜、执行器一体式电动控制系统,由阀体、执行机构、控制系统等组成,根据出口压力的需要将控制系统设定在需要的压力,由控制系统控制执行机构,再由执行机构控制减压阀的开度,进而达到控制出口压力的作用。本产品控制精度高,减压准确,结构简单,噪音低,性能稳定。适用于石化、建筑、医药等气体、液体、蒸汽等介质和工况上。
【执行标准】
设计规范:GB/T 12244结构长度:GB/T 12250
法兰连接:JB/T 79
试验与检验:GB/T 12245
产品标识:GB/T 12220
供货规范:JB/T 7928
【产品型号】
DKYP-16C(25,40,64,100,160)DKYP-16P(25P,40P,64P,100P,160P)
【主要技术参数和性能指标】
| 公称压力 | 1.6 | 2.5 | 4.0 | 6.4 | 10.0 | 16.0 |
| 壳体试验压力(MPa)* | 2.4 | 3.75 | 6.0 | 9.6 | 15.0 | 24.0 |
| 密封试验压力(MPa) | 1.6 | 2.5 | 4.0 | 6.4 | 10.0 | 16.0 |
| 最高进口压力(MPa) | 1.6 | 2.5 | 4.0 | 6.4 | 10.0 | 16.0 |
| 出口压力范围(MPa) | 0.1~1.0 | 0.2~1.6 | 0.2~2.5 | 0.5~3.5 | 0.5~3.5 | 0.5~4.5 |
| 最小阀前阀后压差(MPa) | 0.15 | 0.15 | 0.2 | 0.4 | 0.8 | 1.0 |
| 压力特性偏差 | 符合GB/T12245-2005标准 | |||||
| 流量特性偏差 | 符合GB/T12245-2005标准 | |||||
| 泄漏率 | 符合GB/T12245-2005标准 | |||||
| 工作温度 | ≤350°C | |||||
注:壳体试验不包含膜片和阀盖
【流量系数(Cv)】
| DN | 25 | 32 | 40 | 50 | 65 | 80 | 100 | 125 | 150 | 200 | 250 | 300 |
| Cv | 8 | 10 | 15 | 24 | 30 | 50 | 85 | 130 | 190 | 300 | 480 | 680 |
【主要零件材质】
| 零件名称 | 材质 |
| 阀体、阀盖 | WCB/CF8 |
| 阀座 | 2Cr13/304SS |
| 阀瓣 | 2Cr13/304SS |
| 缸套 | 2Cr13/304SS |
| 阀杆 | 2Cr13 |
| 密封垫 | 柔性石墨/聚四氟乙烯 |
| 隔垫装置 | 25 |
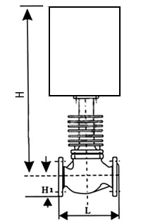
【连接尺寸】
| 公称通径DN | 外 形 尺 寸 | |||||
| L | H | Hl | ||||
| 1.6/2.5MPa | 4.0MPa | 6.4MPa | 常温型 | 热片型 | ||
| 25 | 184 | 197 | 210 | 668 | 819 | 75 |
| 32 | 222 | 235 | 251 | 684 | 835 | 95 |
| 40 | 222 | 235 | 251 | 684 | 835 | 95 |
| 50 | 254 | 267 | 286 | 684 | 835 | 98 |
| 65 | 254 | 267 | 286 | 684 | 835 | 98 |
| 80 | 298 | 317 | 337 | 785 | 946 | 156 |
| 100 | 352 | 368 | 394 | 795 | 946 | 156 |
| 125 | 352 | 368 | 394 | 795 | 946 | 156 |
| 150 | 451 | 473 | 508 | 945 | 1160 | 208 |
| 200 | 600 | 615 | 650 | 945 | 1160 | 250 |
| 250 | 650 | 670 | 690 | 1050 | 1320 | 265 |
| 300 | 740 | 770 | 800 | 1145 | 1380 | 295 |
【结构图片】
声明:本文中所有文字、数据、图片均适用于参考,DKYP电控式减压阀的具体性能参数、结构尺寸参数、价格等详情,请联系我们的销售、技术工程师,电话:021-5266 6877。

