【产品介绍】
软密封中线蝶阀具有开关及调节流体功能,广泛用于各种工业流体控制,和传统截止阀和球阀相比,蝶阀重量轻,成本低。随着各种人造橡胶工业的快速发展,软密封中线蝶阀 不仅能用于传统水处理工业,还可用于各种现代化学工业。
【产品特点】
1、蝶板,阀杆,阀体,同心设计扭矩小2、可双向安装
3、自清洁式阀座
4、防吹出式阀杆
5、ISO 5211 顶法兰
6、可选加长式阀杆
7、可提供对夹和法兰连接方式
【执行标准】
设计标准 GB12238、API609、JIS B2064;结构长度 GB/T15188.2
法兰标准 GB4216、GB9113、GB9115
试验标准 GB/T13927、JB/T9092
【产品型号】
| 材质 | 型号 |
| 法兰式 |
D341X-10,D341X-16 |
|---|---|
| 对夹式 |
D371X-10,D371X-16 |
【产品性能规范】
| 公称压力(MPa) | 1.0 | 1.6 | |
| 密封试验压力(MPa) | 1.1 | 1.76 | |
| 壳体试验压力(MPa) | 1.5 | 2.4 | |
| 适用温度(℃) | ≤80℃ | ||
| 材料 | 阀体、蝶板 | HT200 | |
| 填料 | 聚四氟乙烯 | ||
| 手轮、手柄 | QT450-10 | ||
| 密封圈 | 丁腈橡胶 | ||
| 阀杆 | 2Cr13 | ||
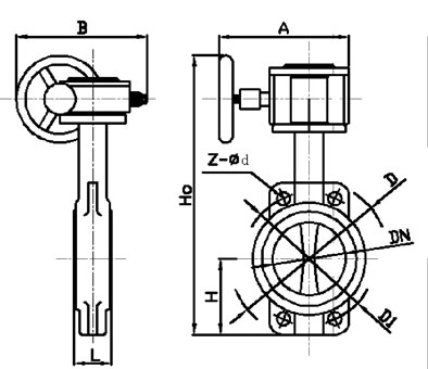
【主要外形连接尺寸】
|
公称通径 DN(mm) |
连接尺寸 | 外形尺寸 | |||||||||||||||
| L | D | D1 | Z-φd | D71X | D371X | D671X | D971X | ||||||||||
| H | Ho | A | B | H0 | A | B | H0 | A | B | H0 | A | B | |||||
| 40 | 43 | 145 | 110 | 4-18 | 58 | 220 | 266 | 65 | 295 | 193 | 125 | 305 | 420 | 125 | 125 | ||
| 50 | 43 | 165 | 125 | 4-18 | 63 | 235 | 266 | 65 | 306 | 193 | 125 | 316 | 180 | 65 | 438 | 125 | 125 |
| 65 | 46 | 185 | 145 | 4-18 | 70 | 250 | 266 | 65 | 320 | 193 | 125 | 330 | 180 | 65 | 453 | 125 | 125 |
| 80 | 46 | 200 | 160 | 4-18 | 83 | 275 | 266 | 65 | 345 | 193 | 125 | 385 | 245 | 72 | 478 | 125 | 125 |
| 100 | 52 | 220 | 180 | 8-18 | 105 | 316 | 266 | 65 | 385 | 193 | 125 | 435 | 240 | 72 | 519 | 125 | 125 |
| 125 | 56 | 250 | 210 | 8-18 | 115 | 340 | 310 | 65 | 410 | 193 | 125 | 450 | 240 | 72 | 713 | 325 | 245 |
| 150 | 56 | 285 | 240 | 8-22 | 137 | 376 | 310 | 65 | 445 | 193 | 125 | 625 | 350 | 93 | 749 | 325 | 245 |
| 200 | 60 | 340 | 295 | 8-22 | 164 | 470 | 370 | 90 | 570 | 283 | 165 | 720 | 350 | 93 | 843 | 325 | 245 |
| 250 | 68 | 395 | 350 | 12-22 | 206 | 645 | 283 | 165 | 805 | 550 | 350 | 945 | 363 | 373 | |||
| 300 | 78 | 445 | 400 | 12-22 | 230 | 740 | 334 | 175 | 840 | 600 | 350 | 1010 | 363 | 373 | |||
| 350 | 78 | 505 | 460 | 16-22 | 248 | 765 | 334 | 175 | 885 | 600 | 350 | 1050 | 363 | 373 | |||
| 400 | 102 | 565 | 515 | 16-26 | 290 | 875 | 425 | 210 | 975 | 600 | 350 | 1135 | 363 | 373 | |||
| 450 | 114 | 615 | 565 | 20-26 | 320 | 940 | 425 | 210 | 1040 | 750 | 380 | 1220 | 465 | 413 | |||
| 500 | 127 | 670 | 620 | 20-26 | 345 | 995 | 425 | 210 | 1095 | 750 | 380 | 1330 | 546 | 431 | |||
| 600 | 154 | 780 | 725 | 20-30 | 410 | 1130 | 425 | 210 | 1230 | 750 | 380 | 1400 | 546 | 556 | |||
| 700 | 165 | 895 | 840 | 24-30 | 480 | 1475 | 620 | 320 | 1475 | 750 | 380 | 1530 | 546 | 556 | |||
| 800 | 190 | 1015 | 950 | 24-33 | 525 | 1535 | 620 | 320 | 1505 | 750 | 380 | 1600 | 546 | 556 | |||
| 900 | 203 | 1115 | 1050 | 28-33 | 585 | 1660 | 620 | 320 | 1660 | 1250 | 380 | 1745 | 617 | 706 | |||
| 1000 | 216 | 1230 | 1160 | 28-36 | 640 | 1760 | 620 | 320 | 1760 | 1500 | 580 | 1810 | 632 | 706 | |||
| 1200 | 254 | 1455 | 1380 | 32-39 | 755 | 1995 | 620 | 320 | 1995 | 1500 | 580 | 2035 | 632 | 706 | |||
| 1200 | 254 | 1400 | 1340 | 32-34 | 755 | 1995 | 620 | 320 | 1995 | 2035 | 632 | 706 | |||||
| 1400 | 279 | 1620 | 1560 | 36-34 | 885 | 2360 | 620 | 320 | 2360 | 2785 | 632 | 706 | |||||
| 1600 | 318 | 1820 | 1760 | 40-34 | 1035 | 2525 | 780 | 450 | 2525 | 2620 | 715 | 835 | |||||
| 1800 | 356 | 2045 | 1970 | 44-41 | 1175 | 2860 | 780 | 450 | 2860 | 2760 | 715 | 835 | |||||
| 2000 | 406 | 2265 | 2180 | 48-48 | 1325 | 3250 | 920 | 570 | 3250 | 2920 | 715 | 835 | |||||
【结构图片】
声明:本文中所有文字、数据、图片均适用于参考,软密封中线蝶阀的具体性能参数、结构尺寸参数、价格等详情,请联系我们的销售、技术工程师,电话:021-5266 6877。

